Artisanal Hand-Crafted Electrons
Warning: This post is a spectator view of laboratory experiments by an experienced engineer, not a DIY guide. If you try experiments like this, you do so at your own risk. It is YOUR responsibility to employ proper shielding and safety measures, and to stay in compliance with your local safety laws.
Vacuum tubes. What are they good for today? Believe it or not, they are not exactly obsolete, and can be a more efficient solution than more modern components in some applications.
Where exactly? The first thing that comes to mind is that these are good for making sound.
To start, consider an old cathode-ray-tube (CRT) TV. The CRT needs a stable voltage in the tens of kilovolts range, or the picture would flicker in size from the changes of brightness. In the early days they used a tube-based linear regulator to make it stable. For that end there were special triodes that could withstand these voltages.
Their time didn't last, since at 20-30 KV they were in the soft X-ray range and putting X-ray emitters into TVs is a bad idea. I suspect that's where the myth about cacti absorbing radiation from monitors originated.
Anyway, let's use such a triode as an arc modulator (plasma speaker) to make our own version of "tube sound".
This is probably the world's first directly modulated plasma speaker. Usually it's done by PWM (pulse width modulation) on the high-voltage transformer primary, with a lot more complexity.
The old way, it's one tube and a high voltage supply. Here's the video. Play it with the sound on.
25KV is flowing through the tube, which acts as a variable resistance. The current in the arc changes with the sound, and the arc expands and contracts, reproducing the sound in the air. In theory it should be perfect fidelity, but in practice it's kinda quiet, and the low frequency stuff is almost absent. The plasma does not have enough oomph in it to really move the air for the low notes, at least not on this power level. Still, it's a good tweeter if you don't mind the x-rays.
Let's look at something a bit more practical. Back in the Soviet era people had funny ideas about what is safe. Take this light for example.
It's a 5 watt UV-C lamp that is painful to look at.
The thing is very simple - a bulb of mercury vapor inside a coil, with lots of shielding around it.
And a tube oscillator that turns the vapor into a face-melting UV plasma.
Literally face-melting, since this thing was advertised and sold as tanning lamp for the miners. You were supposed to point it at your face for 60 seconds, to prevent whatever harm comes out of being away from the sunshine for months.
Clearly, cancer hadn't been invented yet.
During the Period Of Scams after the Soviet Union collapsed, this device was used as a "universal cure." Ear infection, colds, strep throat, acne, bad shave, you name it. Funnily enough it did work, since it produces enough UV in the right band to kill the germs.
Anyway, these days I use it to erase old style EPROMs (erasable programmable read-only memory). A regular wimpy eraser would take minutes, while this thing does it in 5 seconds flat. Let's take a look at how it works.

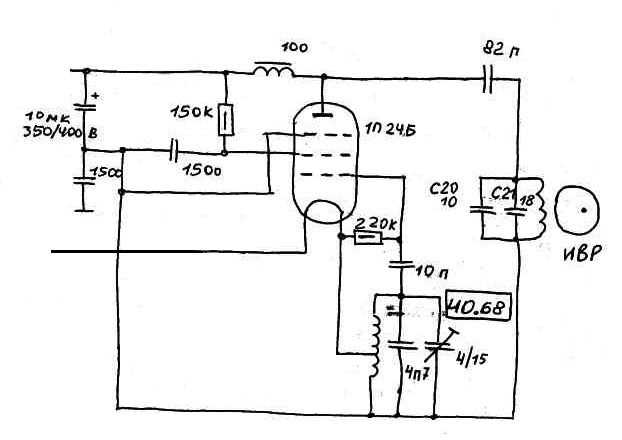
There is a tuned circuit around the bulb of mercury, and an oscillator comprising one pentode tuned to the same frequency. This pumps the loop at 40 MHz. The plasma will burn at a lower frequency, but you need to ignite it first, create enough potential difference inside the bulb by short enough EM waves.
Technical term: Induction lamp.
So, how about we build our own? What is all the shielding for? Does it have to be tuned? How hard would a modern analogue be?
Enter the o_O.
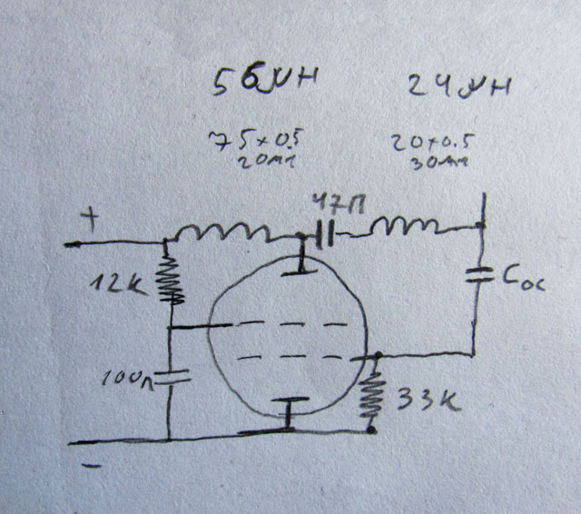
A little 3D printed vacuum-tube tesla coil/tube oscillator.
I've simplified the previous schematic a bit, and used a bigger tube.
Basically, it's a free-running oscillator with feedback instead of a tuned loop. It's powered from a set of batteries and a pocket inverter, for safety. You don't want to get shorted between the mains and the ground by a stray arc.
Running at around 60MHz, it lights up all sorts of neon bulbs nicely. Normally you'd put a bulb of gas into the big coil for maximum light output, but just being nearby works too. There is also a lightsaber effect involved...
Better yet, watch the video. The speakers that make the noise at 0:28 in the video are a meter away, so that's (one of the things) the shielding was for.
Back to the lamp, I wanted to replace all the old stuff with something out of modern solid-state components, and more or less failed. It would take a bunch of expensive components and careful design to produce something with the same RF power output as these little tube oscillators. No wonder many radio transmitters (from ham radio to big broadcasting transmitters) still use tubes - for high power RF they are tough to beat in both $/watt and complexity/watt.
Speaking of transmitter tubes, let's end with something museum-wallpaper-grade. Here is a 1.5 megawatt tetrode from a Soviet radar. 35 KV, 40 Amp.
Gold-plated grids, wide gaps.
Let's turn this thing on.
300 watts of heater power! Compared to 1-3W for the tiny ones before.
With the voltage applied and the current flowing, you can see the plasma glow inside. The electrons flowing freely in a vacuum, guided by the electric fields.
Now here is something curious. When the heater is turned off the emission won't just cease instantly, since the heat would take time to dissipate. Instead, the dull red will disappear, leaving only the plasma.
As the thing cools down the plasma is getting denser...
And denser, with the reddish tones. I don't really know what is causing it, but it looks pretty. A twin cloud of non-corporeal misty stuff, appearing and disappearing at the flick of a switch inside a big bottle-o-vacuum.
So, these were the tubes from the old days. Here is a big wallpaper grade image in 1920x1080, and thanks for reading!



















4 Comments
I used to make photomultiplier tubes. They're incredible amplifiers. A single photon coming in can generate 100 million electrons at the anode, with timing resolution below a nanosecond. Military-grade image intensifiers (the green nightvision tubes) work on similar principles, but trade amplification and time resolution for spatial resolution and compactness.
Yeah, i wanted to play with one for a while. No luck, however. One turned out to be defective and didn't held the vacuum, the second one was simply not working for unknown reasons. haven't found a third one yet.
Where did you get a radar tetrode? Are these easy to get in the military surplus market or something?
There are "radio markets" and something similar to "garage sales" around here, where Soviet stuff is often sold for almost nothing. Well, good stuff can go for a lot, i.e. power electronics components were as good back then as the modern day parts, if not better. Common vacuum tubes often go into "all for $1" type bins, since there were tons of them made back in the day. And every now and then some collector-grade stuff pops up.